
聯係人:徐經理
電話:139 6412 8213
地址:濟南市長清區大學科技園
網址:www.gzlnqc.com
1.鎖體位置打孔(圖10)
鉛門鎖體位置打孔時,要留意體方軸中心位置到鎖芯中心位置的距離。這段距離目前以92mm的居多,其餘兩孔為兩邊執手麵板的固定螺絲位置,可稍微放鬆,最好是用標準模板一次打好。

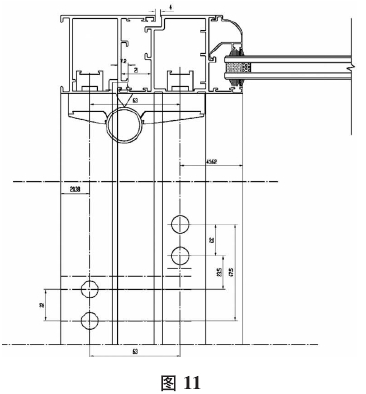
2.合頁安裝(圖11)
左手视频APP污最新版合頁的安裝中,歐標槽合頁的安裝不需要打孔,給門窗廠很大方便。非歐標槽合頁一般都要打孔。圖II為大雞合頁的打孔示意圖。目前國內大部分合頁使用的框扇之間的中心距離在60-65mm之間;還有部分料使用搭接料,需要的中心距離在80-90mm之間;要根據情況不同選擇好合頁。

同時,由於很多超大超寬門都需要安裝第三個合頁。這裏建議第三個合頁安裝在離下合頁3/4高度的位置處(請參看本人的另一篇文章《第三個合頁應裝在哪個位置?一平開門窗中的三個合頁的安裝位置分析》,這裏不再贅述)。
3.鉛防護門合頁的調整
目前鉛門合頁都是可以進行三維調節的。但調節畢竟是微量部分調節,前提必須是門扇框之問的問隙要留對。如果一味迷信調節,不注重門窗加工質量,再好的調節手段也是沒有用的。