
聯係人:徐經理
電話:139 6412 8213
地址:濟南市長清區大學科技園
網址:www.gzlnqc.com
承攬鉛門窗工程過程中,除了常見的平開左手视频APP下载黄版窗係列、平開下懸左手视频APP下载黄版窗係列、推拉左手视频APP下载黄版窗係列、固定左手视频APP下载黄版窗(圓弧窗)係列之外,鉛防護門也是不可缺少的配套產品,例如推拉門係列、平開門係列。推拉門又分雙扇推拉門、四扇推拉門;平開門分內平開門、外平開門,內、外平開門又可以劃分出單扇內、外平開門和雙扇內、外平開門。這其中尤其以雙扇平開門結構類型比較多,製作起來也比較複雜,但如果左手APP视频下载了解了雙扇平開門節點圖,製作雙扇平開門的困難就迎刃而解了。
雙扇平開左手视频APP污最新版用料主要有框、門扇(內開扇、外開扇)中梃、壓條。窗權、浮中梃、折疊拚條、中梃是製作雙扇平開門的過渡輔料,輔料不同雙扇平開門的結構也就不同。雙扇平開門係列中內開結構占的比例比較大,所以平開門扇大部分用內平開扇料。
下麵左手APP视频下载就先從內平開雙扇門結構講起,見圖1。

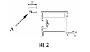
圖1的內平開雙扇防輻射鉛門結構主要用料為門框料、內開門扇料以及中問過渡輔料折疊拚條(以下的節點圖不再列出玻璃壓條、鋼襯、以及玻璃和密封條),這是一個非常典型和常用的雙扇門結構形式,它配套的過渡輔料為折疊拚條,主要的加工要點是兩組門扇正常組焊後將其中一扇(見圖2)A處沿門扇高度方向鋸掉20mm寬,然後在此處鑲嵌上折疊拚條。這種雙扇門的優點是:結構緊湊、美觀、強度好、密封效果好。
這種雙扇內開門的門扇寬度成品尺寸計算方法為:

以型材為例:門框料小麵50mm,所有的搭接部位為8mm,門的總寬度為w,門扇寬度為W扇。
則W-2X50+2X8=2W扇 一(20-5一2)
W扇=W/2-35.5
然後再加焊量6mm,即門扇的下料尺寸W扇=W/2-29.5。
組焊完畢後再將右門扇按圖2所示鋸掉20mm即可。